gipersongs.ru
gipersongs.ru
Найти
Gipersongs 리플
»
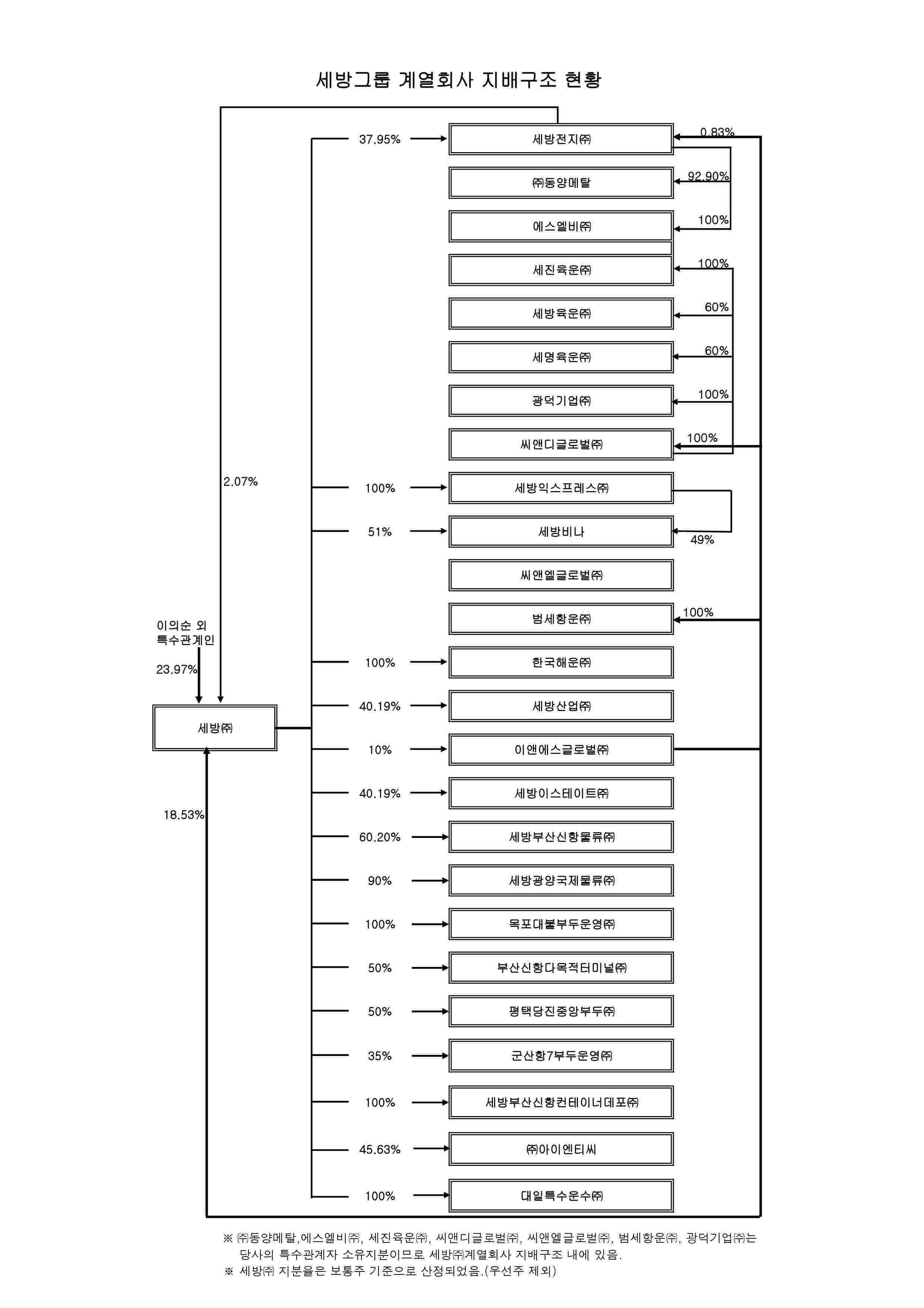
세방 전지
» 세방 전지 주가 (93) 사진
세방 전지 주가 (93) 사진
0
1
2
3
4
5
29 январь
0
0
세방 전지